Friday, 5 April 2024

1968 Motopolo - モトポロ by セガ (Sega)


Name: Motopolo - モトポロ
Year: 1968
Company: セガ (Sega)

Motopolo is a head-to-head game of motorcycle polo, where players use their motorcycles to get the balls into their opponents' net.  It is based off the game Motoball, and the French machine of the same name. (more on that below)


English flyer



Cabinet details

Most of these photos are from Morphy Auctions and/or Bruce Zamost.






Playfield details:








innards


via 昭和~平成前期のホテルや旅館などのパンフレット



Origins

Motopolo appears to be based on a French machine called Moto-Ball (aka Motoball). 

Motoball is based off the French sport of Motoball.

 On the forum flipjuke.fr we can find some photographs posted of the original machine.  (archive)






Moto-Ball probably came out in 1964.  Here is a reference in Billboard magazine, though it does say "half a dozen new games to come out of Milan in the last year", meaning it could have been released late 1963.
1964-08-15 Billboard

Motoball also appeared at this Belgium arcade in 1965:
Billboard 1965-04-10



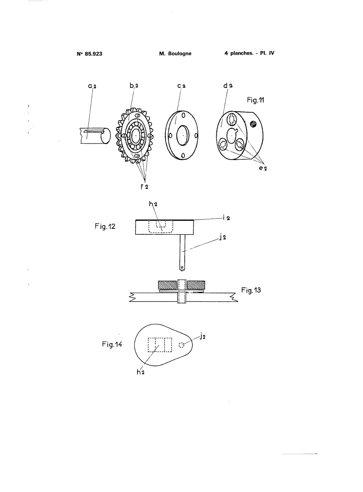
There are  a few patents that can track the development of this technology.

P.V. no 898.893 - No 1.325.988 - 1962



P.V. no 924.890 - No 1.355.053 - 1964







P.V. no 977.827 - No 85.923 - 1965






There was also a patent filed in the USA.  3,338,576 - 1965











No comments:

Post a Comment

a foreigners' guide to eremeka arcades - 外国人のためのエレメカアーケードゲームガイド: introduction & main page - 紹介&メインページ

eremeka search tool  // エレメカ検索ツール begin browsing at the beginning / 最初から閲覧を開始する begin browsing at 1960 / 1960年代から閲覧する begin browsing at 1970...